- НаличиеВ наличии
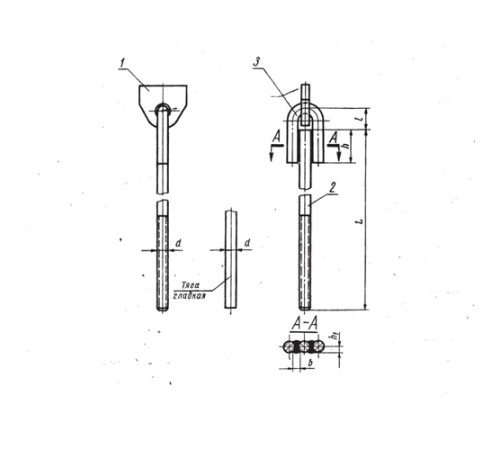
Проушины с тягой предназначены для надёжного крепления и подвешивания стальных трубопроводов к строительным конструкциям. Эти элементы обеспечивают правильное распределение весовой нагрузки и температурных деформаций, что является ключевым для безопасной и долговечной эксплуатации инженерных систем.
Изделия изготавливаются из высокопрочных марок стали, включая 09Г2С, 12Х18Н10Т, сталь 20 и 3, что гарантирует их стойкость к механическим воздействиям и коррозии. Широкий диапазон допустимых нагрузок (от 300 до 8000 кг) позволяет подобрать оптимальное решение для проектов любой сложности.
Мы предлагаем вариативность выбора по ключевым параметрам: диаметр (от 10 до 36 мм), масса и марка материала. Это делает наши проушины универсальным решением для монтажа технологических, канализационных и других видов трубопроводов на промышленных объектах.
Нет отзывов об этом товаре.
Пока нет вопросов об этом товаре. Станьте первым!
