• Наличие
    В наличии
Цена по запросу

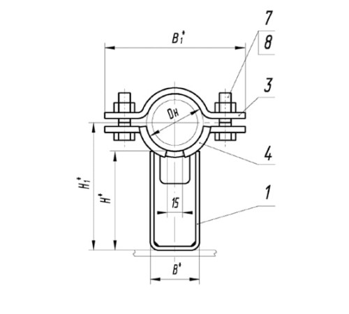
Опоры трубопроводные ТПР.04.01(2).00.000 предназначены для надежного крепления и поддержания стационарных трубопроводов различных систем. Они обеспечивают устойчивость и правильное позиционирование трубы, воспринимая вертикальные нагрузки и обеспечивая свободное перемещение при температурном расширении.

Использование качественных опор повышает срок службы трубопровода, снижает вибрацию и минимизирует риски аварийных ситуаций. Это ключевой элемент для обеспечения безопасной и долговечной эксплуатации промышленных коммуникаций.

Изделия отличаются высокими качественными характеристиками: прочностью, устойчивостью к коррозии и длительным сроком службы. Производство соответствует строгим стандартам и техническим условиям.

Мы предлагаем широкую вариативность выбора для труб различного наружного диаметра (Dн): от 57 до 720 мм, с массой от 4,79 до 78,44 кг. Доступны различные модификации марки, что позволяет подобрать оптимальное решение для любого проекта.

Отзывов: 0

Нет отзывов об этом товаре.

Вопросов: 0

Пока нет вопросов об этом товаре. Станьте первым!